Le prime indiscrezioni arrivarono all’incirca un anno fa quando si seppe che Apple aveva stretto una partership con una società britannica (Intelligent Energy) per la realizzazione di una speciale batteria a combustibile (fuel cell). Obiettivo? Fare in modo che i dispositivi Apple possano godere di un’autonomia elevata, pari a diversi giorni od addirittura a settimane.
La Mela sembrerebbe aver davvero proseguito le ricerche e gli esperimenti perché, nella richiesta di registrazione di brevetto presentata all’ufficio competente negli Stati Uniti ed appena resa pubblica (vedere questa pagina), i tecnici di Apple parlano proprio di celle a combustibile.

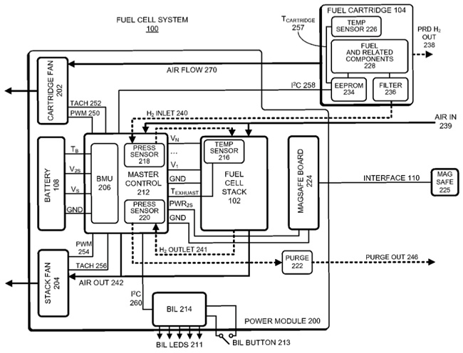
Nel documento si fa proprio riferimento alla possibilità di tenere acceso un dispositivo portatile per giorni interi od addirittura settimane, senza la necessità di alcun tipo di alimentazione esterna. Nonostante il termine MacBook non venga mai espressamente menzionato, tutti i testi ed i diagrammi che figurano nella descrizione del brevetto sembrano riferirsi propria alla linea di notebook Macintosh prodotti da Apple.
Ovviamente le cose non sono semplicissime. Una pila a combustibile o fuel cell è un dispositivo elettrochimico che consente di ottenere elettricità utilizzando elementi come ad esempio idrogeno ed ossigeno, senza che avvenga alcun processo di combustione termica.
Nel documento si parla di cartucce-batteria estraibili, da rimuoversi non appena la pila a combustibile dovesse esaurirsi, ma Apple non si esprime – ancora – sul combustibile che dovrebbe poi essere effettivamente utilizzato. Non è poi dato sapere come Apple pensa di affrontare il problema ambientale legato allo smaltimento delle cartucce esauste.
In ogni caso, almeno allo stato attuale, pare più probabile che Apple possa orientarsi su un approccio misto: una batteria tradizionale più una pila a combustibile che potrà essere attivata nel momento in cui ve ne fosse il reale bisogno (perdurante impossibilità di connettere il MacBook od un altro dispositivo ad una presa elettrica a muro).
